C5HG2HK1 - 206 DW10TD ENGINE
REMOVAL - REFITTING ANCILLARY DRIVE BELT
WARNING : different methods depending on the case encountered .
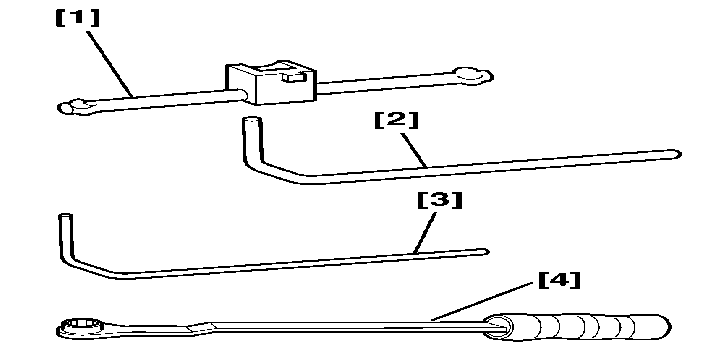
1 - SPECIAL TOOLS

DW10TD ENGINE
[1] Tension lever (-).0188-J2 .
[2] setting rod for dynamic roller ø 4 mm (-).0188-Q1 .
[3] setting rod for dynamic roller ø 2 mm (-).0188-Q2 .
[4] Dynamic tensioner compression lever (-).0188-Z .
2 - DYNAMIC TENSIONER FEATURES
(A) Setting hole DW10 .
(B) Belt wear check mark (fixed on engine) .
(C) Zero wear mark .
(D) Maximum wear mark .
This marking system enables belt wear to be checked; coinciding of marks (D) and (B) means that the belt must be replaced .
Tightening torque(s) :
3 - REMOVAL
Remove the front right-hand wheel .
Move aside the right-hand front mud shield .
Remove the shield under the power train .
Release the fastener (2) .
Turn the eccentric roller (3) using tool [1] until the setting rod [2] ø 4 mm is in place in the setting hole (A) .
Move the eccentric roller (3) towards the rear .
Slightly tighten the bolt (2) .
Remove the belt .
IMPERATIVE : check that the rollers (3) and (4) turn freely (no play and no tight spots) .
4 - REFITTING
Fit the belt ending with the dynamic tensioner roller (4) .
Turn the eccentric roller (3) using tool [1] clockwise to free tool [2] from the setting hole (A) .
Without altering the position of the roller, Tighten the fastener (2) to 4.3 daN.m. .
IMPERATIVE : take care that the belt is correctly located in the grooves of the various pulleys .
Remove the tool [1] .
Turn the engine 4 revolutions .
Check that marks (B), (C) coincide :
DW10TD ENGINE
Continue the fitting operations in the reverse order to removal .
Tighten the wheel bolts to 8.5 da.Nm .