C4DG0BF1 - 206

REMOVAL - REFITTING PANORAMIC ROOF

1 - TOOLS - GLASS

1 - 1 - TOOLING

[1] FEIN electric knife assembly .

Contents of kit :

Suction caps with wires [2] .

Jointed suction caps [3] .

1 - 2 - BONDING KIT

[4] Adhesive kit (quick set) :

[5] Gun .

Use :

[6] Adhesive kit (quick set) :

[7] Gun .

NOTE : the following single component adhesives can be used .

[8] Compressed air gun .

[9] Cartridge heater (To pre-heat the ultra-rapid cartridges) .

Bonding kit :

1 - 3 - SPECIAL TOOLS

[10] Adjustable stop blade 143 .

[11] Shovel blade 146 .

[12] U-shaped blade 154 .

[13] Glass roof centralising shims .

2 - REMOVAL

IMPERATIVE : store the concealing blind in its housing .

Remove :

Protect :

Using adhesive tape, protect the inside and outside edges of the cutting out areas .

WARNING : gloves and protective goggles must be worn for the following operations .

For the front part of the glass roof, cutting out is from the outside .

Fit blade [12] no.154 to the electric knife .

Insert the blade between the glass roof and the crossmember at the right or left corner .

Cut out the front part between A and D .

For the rear of the glass roof, cutting out is from the inside .

To the electric knife [10] fit the blade 143 no. .

Push back the stop to 35 mm from the end of the blade .

Insert the blade between the glass roof and the crossmember at the right or left corner .

Cut out the rear part between B and C .

For cutting out the side parts two people are required, one inside and the other outside the vehicle .

Using the wire, cut out the side parts A to B and D to C .

Remove the glass roof using the 4 double suction cups [3] .

Preparation for refitting the glass roof .

Fit blade [11] no.146 to the electric knife .

Level off the bead of adhesive on the vehicle .

Level off the bead of adhesive on the glass roof .

Offering up the glass roof to the vehicle .

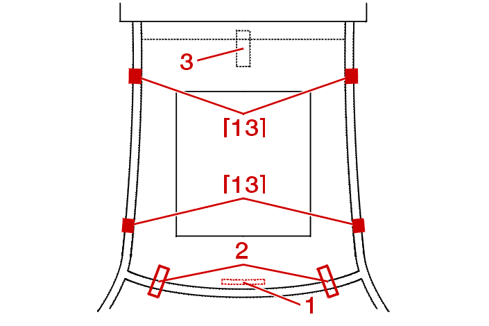
Place the 4 shims [13] on the side flanges .

Centralise the glass roof using the shims [13] and the stamping (1) on the roof crossmember .

Place adhesive strips (2) on the outside for the front and on the inside for the rear .

Cut out adhesive strips (2) which will be used as markers for the final position .

Remove the glass roof .

Touch up with anti-corrosion product .

Degrease the areas for gluing on the vehicle with the product selected from the adhesive kit .

Apply the metal primer selected from the adhesive kit .

Allow to dry for 10 mn .

Preparation of the glass roof .

AV : Front .

Degrease the edge of the glass headlining with the product selected from the adhesive kit .

Apply the glass primer selected from the adhesive kit .

Allow to dry for 10 mn .

Fit the mastic mixer assembly to the extruder gun .

Take the nozzle supplied in the bonding kit .

Align the bead of adhesive :

IMPERATIVE : the time between depositing the mastic and positioning the glass roof must not exceed 8 mins. for rapid bonding adhesives .

3 - REFITTING

Positioning of the double suction cups [3] on the glass roof before placing on the vehicle .

WARNING : for the following operation three people are required, two to bring the glass headlining above the vehicle and one sitting in the rear seats to support it while it is being adjusted to the markers (2) and the shims [13] .

Refit the glass roof to the vehicle, taking care to centre it in relation to the markers (2) and the shims [13] .

With your hands apply a slight pressure around the edge .

Refit the upper windscreen seal (4) .

Re-check the position of the glass roof in relation to the markers .

Apply constant pressure using the suction cups [2] .

Allow to cure for 30 minutes before handling (For the quick bonding adhesive mastics) .

Continue the fitting operations in the reverse order to removal .