B3FE04K1 - 206
CHECK - ADJUSTMENT LOAD SENSITIVE BRAKE COMPENSATOR
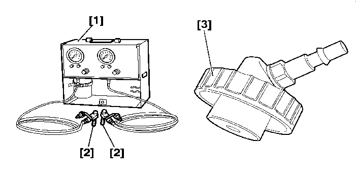
1 - SPECIAL TOOLS
[1] Braking pressures checking equipment (-).0808-ZY .
[2] Pressure take-off unions .
[3] Brake fluid reservoir filler cap (-).0810 .
[4]Set of FACOM 470 type circlip pliers .
[5] CMBB-T 935 R type pressurising equipment .
2 - PRELIMINARY OPERATIONS
Place the vehicle on a four post lift (To make the operation easier) .
Check that there are no hydraulic leaks .
Check that none of the pipes are kinked .
Remove any object from the vehicle which may weigh more than 10 kg .
3 - SETTING UP THE TOOLS
Selection of pressure adaptor connectors [2] .
| diameter and pitch of the bleed screws | |
|---|---|
| front wheel | M7 x 100 |
| rear wheel | M7 x 100 (drums without ABS - discs) M8 x 125 (drums with ABS) |
4 - PRESSURE SYMMETRY CHECK
4 - 1 - CONNECTIONS
Connect the pressure take-off unions [2] in place of the bleed screws, then the pressure checking equipment [1] .
NOTE : the longest hose must be connected to the rear wheel on the passenger's side .
Position : The filler cap [3] .
Pressurise the brake circuit using the tool [5] .
NOTE : it is also possible to carry out a manual bleed (using the pedal) .
Bleed : The pressure measuring equipment [1] (See instructions for use) .
4 - 2 - CHECK
Start the engine .
IMPERATIVE : press the brake pedal gradually .
Check that the pressure of the rear wheels is equal .
Permissible pressure difference : ± 4 bar(s) .
If the pressure difference is within the tolerance: check the braking distribution .
If the pressure difference is outside the tolerance: replace the compensator .
Remove the union [2] from the rear wheel on the driver's side .
Refit the bleed screw and bleed the circuit .
5 - CHECK - ADJUSTMENT BRAKING DISTRIBUTION
NOTE : carry out the operation: Pressure Symmetry Check before carrying out any of the following operations .
5 - 1 - CONNECTIONS
Connect the pressure take-off union [2] to the front wheel on the driver's side .
Connect the hose of the tool [1] to the union [2] .
Bleed :
5 - 2 - CHECK - ADJUSTMENT
Read the recommended values by referring to section: Braking Distribution Check Values .
On the vehicle, engine running, read the rear pressure for a front pressure of 60 bars .
IMPERATIVE : the check pressure must be obtained by pressing gradually on the brake pedal .
Compare the value read (table/vehicle) .
If the rear pressure is correct for a front pressure of 60 bars :
If the rear pressure is correct for a front pressure of 100 bars :
If the rear pressure is incorrect for a front pressure of 100 bars :
If the rear pressure is incorrect for a front pressure of 60 bars :
The hole (B) enables fitting of the tool [4] .
Fit the tool [4] .
Slacken the bolt (1) .
Move the spring rod :
Tighten the bolt (1) to 1.3 da.Nm .
On the vehicle, engine running, read the rear pressure for a front pressure of 60 bars .
Compare the value read (table/vehicle) .
Repeat these adjustment operations until the recommended pressure is obtained .
In order to check the correct operation of the compensator, read the rear pressure for a front pressure of 100 bars :
After repair :
6 - BRAKING DISTRIBUTION CHECK VALUES
6 - 1 - EXAMPLE
| example(s) of reading(s) | |
|---|---|
| shape | 5-door |
| engine type (legislation type) | DW10 TD (RHY) |
| type of braking | ABS |
| wheel diameter | R14 |
| fuel level | fuel tank 1/4 |
| option(s) (sun roof - towbar) | sun roof |
The distribution values which correspond to this reading example are as follows :
WARNING : values are expressed in bars with a tolerance of : ± 2 bar(s) .
6 - 2 - 3 DOOR SHAPE
| not : vans | ||||||
|---|---|---|---|---|---|---|
| special features | tank empty 5 litre(s) |
tank filled to 1/4 | ||||
| engine type (legislation type) |
type of braking | wheel diameter | front pressure = 60 | front pressure = 100 | front pressure = 60 | front pressure = 100 |
| TU1JP (HFY - HFZ) |
without ABS | R13 / R14 | rear pressure = 27 | rear pressure = 38 | rear pressure = 28 | rear pressure = 38 |
| TU1JP (HFY - HFZ) |
ABS | R13 / R14 | rear pressure = 20 | rear pressure = 30 | rear pressure = 20 | rear pressure = 31 |
| TU3JP (KFX) |
without ABS | R13 / R14 | rear pressure = 28 | rear pressure = 39 | rear pressure = 29 | rear pressure = 39 |
| TU3JP (KFX) |
ABS | R13 / R14 | rear pressure = 20 | rear pressure = 31 | rear pressure = 20 | rear pressure = 31 |
| DW8 (WJZ) |
without ABS | R13 / R14 | rear pressure = 27 | rear pressure = 38 | rear pressure = 28 | rear pressure = 39 |
| DW8 (WJZ) |
ABS | R13 / R14 | rear pressure = 20 | rear pressure = 31 | rear pressure = 21 | rear pressure = 31 |
| TU5JP (NFZ) |
without ABS | R14 | rear pressure = 30 | rear pressure = 40 | rear pressure = 30 | rear pressure = 41 |
| TU5JP (NFZ) |
ABS | R14 | rear pressure = 22 | rear pressure = 32 | rear pressure = 22 | rear pressure = 33 |
| DW10TD (RHY) |
ABS | R14 | rear pressure = 31 | rear pressure = 41 | rear pressure = 31 | rear pressure = 42 |
| EW10J4 (RFR) |
ABS | R15 | rear pressure = 31 | rear pressure = 41 | rear pressure = 31 | rear pressure = 41 |
| option(s) : - sun roof : + 1 bar(s) - electronic engine immobiliser operation : + 2 bar(s) |
||||||
| not : vans | ||||||
|---|---|---|---|---|---|---|
| special features | tank filled to 1/2 | tank filled to 3/4 | ||||
| engine type (legislation type) |
type of braking | wheel diameter | front pressure = 60 | front pressure = 100 | front pressure = 60 | front pressure = 100 |
| TU1JP (HFY - HFZ) |
without ABS | R13 / R14 | rear pressure = 29 | rear pressure = 39 | rear pressure = 30 | rear pressure = 40 |
| TU1JP (HFY - HFZ) |
ABS | R13 / R14 | rear pressure = 21 | rear pressure = 32 | rear pressure = 22 | rear pressure = 33 |
| TU3JP (KFX) |
without ABS | R13 / R14 | rear pressure = 30 | rear pressure = 41 | rear pressure = 31 | rear pressure = 42 |
| TU3JP (KFX) |
ABS | R13 / R14 | rear pressure = 22 | rear pressure = 33 | rear pressure = 23 | rear pressure = 34 |
| DW8 (WJZ) |
without ABS | R13 / R14 | rear pressure = 29 | rear pressure = 40 | rear pressure = 31 | rear pressure = 41 |
| DW8 (WJZ) |
ABS | R13 / R14 | rear pressure = 22 | rear pressure = 32 | rear pressure = 23 | rear pressure = 33 |
| TU5JP (NFZ) |
without ABS | R14 | rear pressure = 32 | rear pressure = 42 | rear pressure = 33 | rear pressure = 44 |
| TU5JP (NFZ) |
ABS | R14 | rear pressure = 23 | rear pressure = 34 | rear pressure = 24 | rear pressure = 35 |
| DW10TD (RHY) |
ABS | R14 | rear pressure = 32 | rear pressure = 43 | rear pressure = 34 | rear pressure = 44 |
| EW10J4 (RFR) |
ABS | R15 | rear pressure = 32 | rear pressure = 43 | rear pressure = 34 | rear pressure = 44 |
| option(s) : - sun roof : + 1 bar(s) - electronic engine immobiliser operation : + 2 bar(s) |
||||||
| not : vans | ||||
|---|---|---|---|---|
| special features | tank full | |||
| engine type (legislation type) |
type of braking | wheel diameter | front pressure = 60 | front pressure = 100 |
| TU1JP (HFY - HFZ) |
without ABS | R13 / R14 | rear pressure = 31 | rear pressure = 42 |
| TU1JP (HFY - HFZ) |
ABS | R13 / R14 | rear pressure = 23 | rear pressure = 34 |
| TU3JP (KFX) |
without ABS | R13 / R14 | rear pressure = 33 | rear pressure = 43 |
| TU3JP (KFX) |
ABS | R13 / R14 | rear pressure = 24 | rear pressure = 35 |
| DW8 (WJZ) |
without ABS | R13 / R14 | rear pressure = 32 | rear pressure = 43 |
| DW8 (WJZ) |
ABS | R13 / R14 | rear pressure = 24 | rear pressure = 35 |
| TU5JP (NFZ) |
without ABS | R14 | rear pressure = 34 | rear pressure = 45 |
| TU5JP (NFZ) |
ABS | R14 | rear pressure = 26 | rear pressure = 36 |
| DW10TD (RHY) |
ABS | R14 | rear pressure = 35 | rear pressure = 45 |
| EW10J4 (RFR) |
ABS | R15 | rear pressure = 34 | rear pressure = 45 |
| option(s) : - sun roof : + 1 bar(s) - electronic engine immobiliser operation : + 2 bar(s) |
||||
| vans | ||||||
|---|---|---|---|---|---|---|
| special features | tank empty 5 litre(s) |
tank filled to 1/4 | ||||
| engine type (legislation type) |
type of braking | wheel diameter | front pressure = 60 | front pressure = 100 | front pressure = 60 | front pressure = 100 |
| TU1JP (HFY - HFZ) |
ABS | R13 | rear pressure = 19 | rear pressure = 30 | rear pressure = 20 | rear pressure = 30 |
| TU3JP (KFX) |
ABS | R13 | rear pressure = 20 | rear pressure = 30 | rear pressure = 20 | rear pressure = 31 |
| DW8 (WJZ) |
ABS | R13 / R14 | rear pressure = 19 | rear pressure = 29 | rear pressure = 19 | rear pressure = 30 |
| vans | ||||||
|---|---|---|---|---|---|---|
| special features | tank filled to 1/2 | tank filled to 3/4 | ||||
| engine type (legislation type) |
type of braking | wheel diameter | front pressure = 60 | front pressure = 100 | front pressure = 60 | front pressure = 100 |
| TU1JP (HFY - HFZ) |
ABS | R13 | rear pressure = 21 | rear pressure = 31 | rear pressure = 22 | rear pressure = 32 |
| TU3JP (KFX) |
ABS | R13 | rear pressure = 21 | rear pressure = 32 | rear pressure = 22 | rear pressure = 33 |
| DW8 (WJZ) |
ABS | R13 / R14 | rear pressure = 20 | rear pressure = 31 | rear pressure = 21 | rear pressure = 32 |
| vans | ||||
|---|---|---|---|---|
| special features | tank full | |||
| engine type (legislation type) |
type of braking | wheel diameter | front pressure = 60 | front pressure = 100 |
| TU1JP (HFY - HFZ) |
ABS | R13 | rear pressure = 23 | rear pressure = 33 |
| TU3JP (KFX) |
ABS | R13 | rear pressure = 23 | rear pressure = 34 |
| DW8 (WJZ) |
ABS | R13 / R14 | rear pressure = 22 | rear pressure = 33 |
6 - 3 - 5 DOOR SHAPE
| not : vans | ||||||
|---|---|---|---|---|---|---|
| special features | tank empty 5 litre(s) |
tank filled to 1/4 | ||||
| engine type (legislation type) |
type of braking | wheel diameter | front pressure = 60 | front pressure = 100 | front pressure = 60 | front pressure = 100 |
| TU1JP (HFY - HFZ) |
without ABS | R13 / R14 | rear pressure = 29 | rear pressure = 39 | rear pressure = 29 | rear pressure = 40 |
| TU1JP (HFY - HFZ) |
ABS | R13 / R14 | rear pressure = 21 | rear pressure = 32 | rear pressure = 22 | rear pressure = 32 |
| TU3JP (KFX) |
without ABS | R13 / R14 | rear pressure = 30 | rear pressure = 41 | rear pressure = 31 | rear pressure = 41 |
| TU3JP (KFX) |
ABS | R13 / R14 | rear pressure = 22 | rear pressure = 33 | rear pressure = 23 | rear pressure = 33 |
| DW8 (WJZ) |
without ABS | R13 / R14 | rear pressure = 29 | rear pressure = 40 | rear pressure = 30 | rear pressure = 40 |
| DW8 (WJZ) |
ABS | R13 / R14 | rear pressure = 21 | rear pressure = 32 | rear pressure = 22 | rear pressure = 32 |
| TU5JP (NFZ) |
without ABS | R14 | rear pressure = 31 | rear pressure = 41 | rear pressure = 31 | rear pressure = 42 |
| TU5JP (NFZ) |
ABS | R14 | rear pressure = 23 | rear pressure = 33 | rear pressure = 23 | rear pressure = 34 |
| DW10TD (RHY) |
ABS | R14 | rear pressure = 31 | rear pressure = 42 | rear pressure = 32 | rear pressure = 42 |
| option(s) : - sun roof : + 1 bar(s) - electronic engine immobiliser operation : + 2 bar(s) |
||||||
| not : vans | ||||||
|---|---|---|---|---|---|---|
| special features | tank filled to 1/2 | tank filled to 3/4 | ||||
| engine type (legislation type) |
type of braking | wheel diameter | front pressure = 60 | front pressure = 100 | front pressure = 60 | front pressure = 100 |
| TU1JP (HFY - HFZ) |
without ABS | R13 / R14 | rear pressure = 31 | rear pressure = 41 | rear pressure = 32 | rear pressure = 42 |
| TU1JP (HFY - HFZ) |
ABS | R13 / R14 | rear pressure = 23 | rear pressure = 33 | rear pressure = 24 | rear pressure = 34 |
| TU3JP (KFX) |
without ABS | R13 / R14 | rear pressure = 32 | rear pressure = 43 | rear pressure = 33 | rear pressure = 44 |
| TU3JP (KFX) |
ABS | R13 / R14 | rear pressure = 24 | rear pressure = 35 | rear pressure = 25 | rear pressure = 35 |
| DW8 (WJZ) |
without ABS | R13 / R14 | rear pressure = 31 | rear pressure = 42 | rear pressure = 32 | rear pressure = 43 |
| DW8 (WJZ) |
ABS | R13 / R14 | rear pressure = 23 | rear pressure = 33 | rear pressure = 24 | rear pressure = 35 |
| TU5JP (NFZ) |
without ABS | R14 | rear pressure = 33 | rear pressure = 43 | rear pressure = 34 | rear pressure = 45 |
| TU5JP (NFZ) |
ABS | R14 | rear pressure = 24 | rear pressure = 35 | rear pressure = 25 | rear pressure = 36 |
| DW10TD (RHY) |
ABS | R14 | rear pressure = 33 | rear pressure = 43 | rear pressure = 34 | rear pressure = 45 |
| option(s) : - sun roof : + 1 bar(s) - electronic engine immobiliser operation : + 2 bar(s) |
||||||
| not : vans | ||||
|---|---|---|---|---|
| special features | tank full | |||
| engine type (legislation type) |
type of braking | wheel diameter | front pressure = 60 | front pressure = 100 |
| TU1JP (HFY - HFZ) |
without ABS | R13 / R14 | rear pressure = 33 | rear pressure = 44 |
| TU1JP (HFY - HFZ) |
ABS | R13 / R14 | rear pressure = 25 | rear pressure = 35 |
| TU3JP (KFX) |
without ABS | R13 / R14 | rear pressure = 35 | rear pressure = 45 |
| TU3JP (KFX) |
ABS | R13 / R14 | rear pressure = 26 | rear pressure = 36 |
| DW8 (WJZ) |
without ABS | R13 / R14 | rear pressure = 34 | rear pressure = 45 |
| DW8 (WJZ) |
ABS | R13 / R14 | rear pressure = 25 | rear pressure = 36 |
| TU5JP (NFZ) |
without ABS | R14 | rear pressure = 35 | rear pressure = 46 |
| TU5JP (NFZ) |
ABS | R14 | rear pressure = 26 | rear pressure = 37 |
| DW10TD (NFZ) |
ABS | R14 | rear pressure = 35 | rear pressure = 46 |
| option(s) : - sun roof : + 1 bar(s) - electronic engine immobiliser operation : + 2 bar(s) |
||||
| vans | ||||||
|---|---|---|---|---|---|---|
| special features | tank empty 5 litre(s) |
tank filled to 1/4 | ||||
| engine type (legislation type) |
type of braking | wheel diameter | front pressure = 60 | front pressure = 100 | front pressure = 60 | front pressure = 100 |
| TU1JP (HFY - HFZ) |
ABS | R13 | rear pressure = 21 | rear pressure = 31 | rear pressure = 21 | rear pressure = 32 |
| DW8 (WJZ) |
ABS | R13 / R14 | rear pressure = 20 | rear pressure = 31 | rear pressure = 21 | rear pressure = 31 |
| vans | ||||||
|---|---|---|---|---|---|---|
| special features | tank filled to 1/2 | tank filled to 3/4 | ||||
| engine type (legislation type) |
type of braking | wheel diameter | front pressure = 60 | front pressure = 100 | front pressure = 60 | front pressure = 100 |
| TU1JP (HFY - HFZ) |
ABS | R13 | rear pressure = 22 | rear pressure = 33 | rear pressure = 23 | rear pressure = 24 |
| DW8 (WJZ) |
ABS | R13 / R14 | rear pressure = 22 | rear pressure = 32 | rear pressure = 23 | rear pressure = 34 |
| vans | ||||
|---|---|---|---|---|
| special features | tank full | |||
| engine type (legislation type) |
type of braking | wheel diameter | front pressure = 60 | front pressure = 100 |
| TU1JP (HFY - HFZ) |
ABS | R13 | rear pressure = 24 | rear pressure = 35 |
| DW8 (WJZ) |
ABS | R13 / R14 | rear pressure = 24 | rear pressure = 35 |