B3CG07A1 - 206

OVERHAUL FRONT HUB

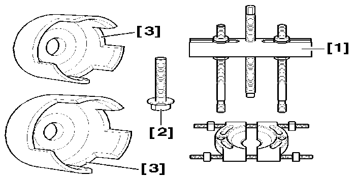
1 - SPECIAL TOOLS

[1] Extractor FACOM U53 (K2 + T2) .

[2] bolt (-).0621-C .

[3] Bearing extractor abutment plate: Diameter 72 mm (-).0621-A .

[3] Bearing extractor abutment plate: Diameter 82 mm (-).0621-B .

TU ENGINE

[4] nut (-).0621-D .

[5] thrust button (-).0621-E .

[6] Extractor (-).0621-F .

[7] Bearing fitting end piece (-).0621-G .

ALL MODELS

WARNING : the threads of the extraction tools must be greased before each use .

2 - REMOVAL

Remove the pivot .

Remove the front hub bearing retaining circlip (1) .

Hold the front pivot in a vice .

Fit the tool [5] .

Fit the tool [6] .

Fit the tool [2] .

Extract the hub (2) with the bearing inner half-race (3) .

Fit two wheel bolts to the hub then mount the hub in a vice .

Remove the bush (4) .

Fit the tool [5] .

Fit the tool [1] .

Extract the inner bearing race (3) using the extractor [1] and the thrust pad [5] .

Position the inner race (3) in its housing .

Place the tool [3] on the press loading table .

Fit the pivot on the tool [3] .

Bring the tool [4] into contact with the bearing race .

Press out the bearing .

3 - REFITTING

IMPERATIVE : use a new hub bearing and new circlip .

IMPERATIVE : spray >MOLYKOTE 321 R type slip compound into the pivot body housing before refitting the bearing .

IMPERATIVE : spray >MOLYKOTE 321 R type slip compound onto the hub .

IMPERATIVE : all parts must be clean and free from any of traces of abnormal wear or damage .

Fit the tool [7] .

Press in the bearing to the shoulder .

Fit a new bearing retaining circlip (1) in its groove .

Fit the tool [4] .

NOTE : check that the plastic retaining ring is present, this ring must never be removed previously by hand, it will be removed by the hub during fitting .

Press on the hub to the stop .

Fit the pivot to the vehicle .