B2CG52K1 - 206 MA GEARBOX
DISMANTLING - ASSEMBLY INPUT SHAFT
1 - SPECIAL TOOLS

| reference | description | reference | reference |
|---|---|---|---|
| [1] | universal extractor | FACOM U53T | |

| reference | description | reference | reference |
|---|---|---|---|
| [2] | fitting tool for input shaft spring ring | (-).0317-AK | 8.0313T-M |
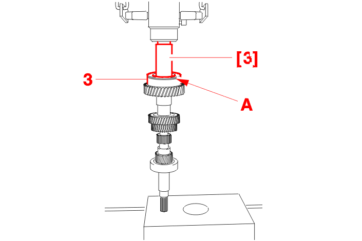
| [3] | tool for fitting input shaft bearings | (-).0317-F | 7.101T-F |
2 - PRELIMINARY OPERATIONS
Dismantling : Gearbox .
Removal : Gearbox casing .
Removal : Input, output shafts and differential .
3 - DISMANTLING
Extract the bearing (3) at the 4th speed end .
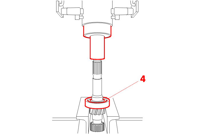
Extract the bearing (4) at the 1st speed end .
4 - ASSEMBLY
WARNING : bearings removed must not be re-used ; lubricate the components as they are refitted ; check that the shaft bearings are in perfect condition, no knock or scratch marks ; observe the matching, the direction of fitting or the relative positions of re-used parts marked on dismantling ; use parts which are clean and free from faults .
Fit the new bearing (4) on the 1st gear side .
Fit the new bearing (3) on the 4th gear side .
NOTE : position the bearing groove (A) upwards .
5 - COMPLEMENTARY OPERATION(S)
WARNING : observe the cleaning and refitting conditions .
Refitting : Input, output shafts and differential .
Refitting : Gearbox casing .
Assembly : Gearbox .