B1BJ0KK1 - 206 TU ENGINE
DISMANTLING ENGINE (NOT TU5J4 )
1 - SPECIAL TOOLS

| half shell grades : original size | ||
|---|---|---|
| description | reference | reference |
| stand | DESVIL | 2509-T |
| [1] adaptor | (-).0187-L | 8012-T |

| description | reference | reference |
|---|---|---|
| [2] flywheel setting rod | (-).0132-QZ | 4507-T.A |
| [3] retaining wrench | (-).0132-AA | 6016-T |
| [4] camshaft setting rod | (-).0132-R | 4533-TA.C2 |
| [5] levers | (-).0153-Q | 149-T |
| [6] flywheel stop | (-).0132-P | 4507-T.L |
| [7] liner retaining clamps | (-).0132-A1Z | 1132-T |
2 - DISMANTLING
Place the engine on the stand [1] .
Remove :
Remove :
Remove :
Remove :
Fit the pins [2], [4] .
Slacken the bolt (23) .
Remove the timing belt (24) .
Remove the tensioner roller (25) .
Release the bolt (26), Using the tool [3] .
IMPERATIVE : starting at the outside and working in a spiral sequence progressively slacken the cylinder head bolts (27) .
Remove the cylinder head bolts .
Rock the cylinder head using the levers [5] to release it .
Remove :
(A) Aluminium cylinder block :
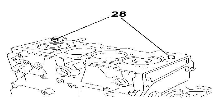
Remove the centralising dowels (28) .
Remove the rod [2] from the flywheel .
Insert the flywheel stop [6] .
(A) Aluminium cylinder block, Remove :
(B) Cast-iron cylinder block .
Remove :
Remove :
Remove :
2 - 1 - ALUMINIUM CYLINDER BLOCK
Remove all of the securing bolts (39) and (40) from the main bearing cap casting .
Remove :
Remove :
Remove :
Remove :
NOTE : mark the shell bearings in relation to the big end caps before removal .
Remove :
Carefully clean all the seal surfaces using scouring product D2 .
2 - 2 - CAST-IRON CYLINDER BLOCK
Remove :
Extract the seal (55) .
Remove :
Remove the oil seal carrier plate (57) .
Extract the seal .
NOTE : mark the big end caps and shells before removing them .
Remove :
NOTE : the main bearings are numbered from 1 to 5, with no. 1 at the flywheel end .
Remove :
Remove the piston/connecting rod assemblies, marking them (if necessary) .
Remove the piston base cooling jets (60) .