B1BBM7K1 - 206 EW10J4 ENGINE
ENGINE INTRODUCTION
1 - DESCRIPTION
New engine : EW10J4 engine .
EW engines are progressively replacing XU engines .
Special features :
NOTE : the engine is prepared for future emission control standards .
The engine output is improved due to the following factors :
1 - 1 - POWER TRAIN INSTALLATION
The new crash protection standards impose a correction to the inclination of the power train in the front section for new vehicles homologated from 1998 .
1 - 2 - DATA
Engine type plate :
2 - DATA
| engine type | EW10J4 |
|---|---|
| legislation type | RFR |
| unit reference | vehicle specific |
| number of cylinders | 4 |
| bore x stroke (mm) | 85 x 88 |
| capacity (cm3) | 1997 |
| compression ratio | 10,8 |
| maximum power (EC) | 99 kW |
| maximum power (HP DIN) | 138 |
| engine speed at max. power (r.p.m.) | 6000 rpm |
| maximum torque (EC) | 19 da.Nm |
| engine speed at maximum torque (rpm) | 4100 rpm |
| injection system | multipoint |
| make | MAGNETI MARELLI |
| type | MMDCM 4.8P |
3 - CYLINDER BLOCK ASSEMBLY
(1) Cylinder block .
(2) Crankshaft bearing cap casing .
(3) Sump .
(4) Oil pump .
(5) Cast iron cylinder liner(s) .
The light alloy cylinder block has cast iron liners fitted on assembly (Foundry) .
The liners are of the dry type .
Light alloy crankcase incorporating 5 cast iron main bearing caps .
Special features :
The sump is new, with stiffening ribs to improve the rigidity of the connection to the gearbox .
NOTE : no. 1 cylinder : flywheel end .
The sealing between the following components is ensured by sealing compound :
4 - CRANKSHAFT AND CONNECTING RODS
(6) Crankshaft .
(7) Compression ring .
(8) Lower sealing ring .
(9) Scraper ring .
(10) Piston .
(11) Gudgeon pin .
(12) Connecting rod .
(13) Big end bearing shell .
(14) Crankshaft end float washers .
(15) Top half shells .
(16) Lower half-shell .
(d) Lubrication hole .
4 - 1 - CRANKSHAFT
New crankshaft :
Crankshaft end float :
4 - 2 - CRANKSHAFT HALF SHELLS
(6) Crankshaft .
(1) Cylinder block .
(e) Marking of category of main bearings - To crankshaft (Paint) :
(f) Marking of category of main bearings - To cylinder block (Cold stamped inscription) :
The crankshaft bearings (cylinder block + main bearing caps) and the crankshaft journals are matched by references on the cylinder block and the crankshaft .
Matching is by means of 4 classes of smooth half shells .
Selection of the appropriate half shell is by means of a matching table (see corresponding operation) with the markings (e) and (f) .
Smooth half shells (On the main bearing cap side) .
Grooved half shells (Cylinder block side) .
NOTE : there is only one category of upper half shell .
4 - 3 - CONNECTING RODS
Connecting rods :
The gudgeon pins are fitted tight in the connecting rods, and free in the pistons .
The half shells are identified by a dab of paint on the edge .
The connecting rods are drilled to lubricate the base of the liner .
NOTE : the big end half shells (top and bottom) are drilled .
4 - 4 - CONNECTING ROD HALF SHELLS
(6) Crankshaft .
(12) Connecting rod .
(g) Crankshaft marking (A B C D) :
(h) Marking on the connecting rod (Cold stamped inscription) :
The big ends and crank pins are matched by references .
Matching is by using 3 categories of (lower) half-shells .
NOTE : there is only one category of upper half shell .
The half shells are identified by a dab of paint on the edge .
Selection of the appropriate half shell is by means of a matching table (see corresponding operation) with the markings (g) and (h) .
4 - 5 - PISTONS
Material : Light alloy .
There is only one piston diameter category (Production size) .
There is only one piston diameter category (Repair size) .
4 - 6 - PISTON RINGS
The piston has 3 rings :
4 - 7 - FLYWHEEL
Flywheel (Vehicle specific) :
The edge of the flywheel has 60 teeth of which 2 have been omitted to determine Top Dead Centre .
A special tool (-).0189-C enables immobilisation of the crankshaft by a hole drilled in the cylinder block and flywheel .
4 - 8 - THE ANCILLARY DRIVE PULLEY
Special features :
5 - CYLINDER HEAD ASSEMBLY
(17) Cylinder-head cover (Composite materials) .
(18) Camshaft bearing cap cover .
(19) Cylinder head .
(i) Exhaust gas recirculation channels cast into the cylinder head (foundry) .
(j) Cylinder head identification boss .
5 - 1 - CYLINDER-HEAD COVER
Two cylinder head covers (top cylinder head cover with an oil drain and oil filler opening) .
Material : Composite materials .
The oil filler hole is incorporated in the cylinder head cover .
The seal is preformed and removable .
NOTE : tightening is in a SPIRAL sequence .
5 - 2 - CAMSHAFT BEARING CASTING
Material: aluminium alloy .
Sealing between camshaft bearing cap casing and cylinder head: sealing compound .
In service : Use AUTOJOINT OR sealing compound .
The camshaft end float is controlled at no. 5 cylinder head bearing (bearing no. 1, flywheel end) .
NOTE : tightening is in a SPIRAL sequence .
5 - 3 - CYLINDER HEAD
4 valves per cylinder (2 inlet, 2 exhaust) with clearance adjustment by hydraulic tappets .
Height of new cylinder head = 137 mm .
Exhaust valve guides: sintered steel = 0,2 mm .
Maximum permissible bow = 0,03 mm .
The valve seats and guides are new and made from sintered steel .
Maximum allowable machining .
Inlet valve guide: brass .
NOTE : tightening is in a SPIRAL sequence .
Part of the exhaust gas recirculation channels is incorporated in the cylinder head .
5 - 4 - CAMSHAFT
(20) Camshaft .
(21) Rotor driven by the camshaft .
New cast iron camshafts with 8 cams and 5 bearings .
The camshaft reference cylinder sensor rotor is fitted to the exhaust camshaft .
The camshaft bearings are pressure lubricated and the cams by oil bath .
NOTE : the rotor (21) is not removable .
5 - 5 - CYLINDER HEAD GASKET
(22) Cylinder head gasket .
(k) Engine identification : hole .
(l) Machined cylinder head gasket identification .
Special features :
5 - 6 - HYDRAULIC TAPPET
The hydraulic tappets automatically adjust valve clearance .
Design identical to the tappets used in the XU engines .
Diameter : 28,4 mm .
5 - 7 - VALVES
Inlet valve : ø 33,3 mm .
Exhaust valve : 29 mm .
Valve stem seal : 6 mm .
Valve stem seal with integral cup .
5 - 8 - VALVE SPRINGS
Special features :
6 - TIMING
(23) Securing bolt(s) .
(25) Camshaft gear : Exhaust .
(26) Camshaft gear : Inlet .
(27) Dynamic tensioner roller .
(28) Roller tensioner .
(29) Crankshaft gear .
(30) Coolant pump gear .
The timing cover is composed of the following 2 components :
6 - 1 - TIMING BELT
| legislation type | RFR |
|---|---|
| engine type | EW10J4 |
| width mm | 25,4 mm |
| number of teeth | 153 |
| material | HSN |
| manufacturer | GATES |
| identification markings | - |
| replacement interval with normal use | refer to the maintenance schedule |
6 - 2 - CAMSHAFT GEAR
(25) Camshaft gear .
(32) Camshaft hub .
(33) Setting hole .
(34) Oblong hole .
The camshaft is set through the hubs (32) keyed to the camshafts .
The gears are attached to their hubs by 3 bolts .
When the 3 fastening bolts are slackened, the gears are free to rotate (within the limits of the oblong holes) .
This type of assembly makes possible :
Camshaft hub identification :
7 - LUBRICATION
Pressure lubrication by an internally driven dual eccentric rotor pump .
The oil filter cartridge is separate from the cylinder block .
7 - 1 - OIL PUMP
(4) Oil pump .
(35) Oil pump external rotor .
(36) Oil pump internal rotor .
(6) Crankshaft .
(m) Flats .
The oil pump is driven from the end of the crankshaft by means of two flats (m) .
Relief valve setting : 7 bar(s) .
7 - 2 - OIL CAPACITY
| engine | EW10J4 |
|---|---|
| special features | without |
| oil capacity with replacement of the oil filter | 4.25 litre(s) |
| oil capacity, drainage by suction with replacement of filter cartridge | - |
| oil capacity without replacement of the oil filter | 4.0 litre(s) |
| capacity between min and max on the dipstick | - |
| always check the oil level using the dipstick | |
Capacity between min and max on the dipstick : 1,7 litre(s) .
IMPERATIVE : always check the oil level using the dipstick .
Oil change interval : Refer to the maintenance schedule .
7 - 3 - OIL FILTER
| oil filter | 1st fitting | 2nd fitting |
|---|---|---|
| make | PURFLUX | PURFLUX |
| type | LS867A | LS867B |
| oil capacity | 0.32 litre(s) | |
| safety valve | 1.5 bar(s) | |
Replacement interval with normal use : Refer to the maintenance schedule .
Oil pressure .
| engine | EW10J4 |
|---|---|
| check 1 at 1000 rpmminimum pressure (bars) | 3.4 |
| check 2 at 2000 rpmminimum pressure (bars) | 6.3 |
| check 3 at 3000 rpmminimum pressure (bars) | 6.9 |
| check 4 at 4000 rpmminimum pressure (bars) | - |
| the values given are in bars for an engine which is run in, at an oil temperature of 80 ° C | |
7 - 4 - ENGINE OIL CHANGE
The engine can be drained by suction .
The engine oil must be changed with the engine hot just after switching off the engine .
The end of the dipstick tube is flared, which makes it possible to connect a suction drainage nozzle (diameter 14 mm) .
NOTE : it is still possible to drain the engine by removing the drain plug from the sump .
8 - AIR SUPPLY CIRCUIT
8 - 1 - AIR SYSTEM
(37) The air inlet hose .
(38) Injectors supply rail .
(39) Exhaust gas recirculation tube .
(40) Inlet manifold .
(41) Throttle housing : Aluminium alloy .
(42) Jubilee clip .
(n) Access to the screw .
Special features - Inlet manifold :
Special features , Throttle housing :
Removal of the air inlet connector from the throttle housing requires slackening of its attachment collar (42) via access (n) .
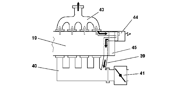
8 - 2 - ADJUSTMENT OF EXHAUST GASES
Arrows : Direction of exhaust gas circulation .
(19) Cylinder head .
(39) Exhaust gas recirculation tube .
(40) Inlet manifold .
(41) Throttle housing .
(43) Exhaust manifold .
(44) Exhaust gas recirculation (EGR) valve .
(45) Water outlet housing .
Exhaust gas recirculation is used to reduce the pumping effect (reduction in fuel consumption) .
The recirculation is of the progressive type managed by mapping .
The opening of the EGR valve is controlled by the EGR solenoid valve which is managed by the engine management control unit which receives the following data :
8 - 3 - EXHAUST GAS RECIRCULATION (EGR) VALVE
Special features :
8 - 4 - EXHAUST MANIFOLD
(43) Exhaust manifold .
(46) Internal ducts (1 per cylinder) .
(47) External envelope .
Material : Steel .
The exhaust manifold is made up of the following components :
A space between the exhaust ducts and the half shells provides good heat insulation .
This exhaust manifold makes possible rapid warming up of the catalytic converter on cold starts .
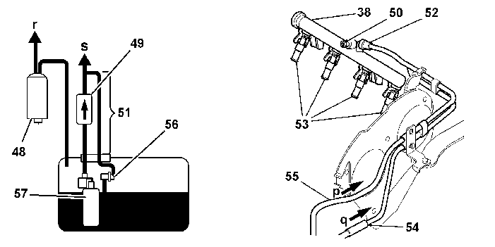
9 - FUEL SUPPLY SYSTEM
(p) Direction of fuel circulation .
(q) Direction of petrol vapour circulation .
(r) To petrol vapour recycling pipes .
(s) To fuel supply pipes .
(38) Injectors supply rail .
(48) Canister (Activated carbon filter) .
(49) Fuel filter .
(50) Schrader valve .
(51) Fuel return pipes .
(52) Click-on connector .
(53) Petrol injector(s) .
(54) Petrol vapour reaspiration pipes .
(55) Fuel supply pipes .
(56) Fuel pressure regulator .
(57) Fuel pump submerged in the fuel tank .
Special features :
9 - 1 - SCHRADER VALVE
The schrader valve is of the tyre valve type .
Functions :
NOTE : access to the schrader valve requires prior removal of the engine styling cover .
9 - 2 - FUEL FILTER
The fuel filter filters impurities above 15 - 20 microns .
Replacement interval : Refer to the maintenance schedule .
10 - COOLING SYSTEM
(19) Cylinder head .
(45) Water outlet housing .
(58) Heater matrix .
(59) Bleed screw .
(60) Thermostat .
(61) Radiator .
(62) Expansion chamber .
(63) Coolant inlet manifold - Coolant pump .
Special features :
10 - 1 - COOLANT PUMP
Special features :
IMPERATIVE : the centralising dowels must always be refitted when fitting the coolant pump .
10 - 2 - THERMOSTAT
Double action thermostat .
(45) Water outlet housing .
(a1) To coolant inlet manifold .
(a2) Coolant outlet from the cylinder head .
(a3) Outlet to the radiator .
(t) Operation : Cold .
(u) Operation : In warm up phase .
(v) Operation : Hot .
(63) - (64) Valve .
The thermostat has two valves (63) and (64) .
When the valve (64) is open : The coolant circulates through the radiator .
When the valve (63) is open : The coolant is directed to the coolant inlet manifold (Loop circulation) .
(t) Operation - Cold : The coolant circulates in the following components :
(u) In warm up phase : The coolant circulates in the following components :
(v) Operation - Hot : The coolant circulates in the following components :
11 - ANCILLARIES DRIVE
2 equipment possibilities (According to vehicle) :
11 - 1 - WITHOUT AIR CONDITIONING
(65) Dynamic tensioner roller .
(66) Power steering pump .
(67) Alternator .
(68) Roller tensioner .
(69) Belt drive pulley .
11 - 2 - WITH AIR CONDITIONING
(65) Dynamic tensioner roller .
(66) Power steering pump .
(67) Alternator .
(68) Roller tensioner .
(69) Belt drive pulley .
(70) Air conditioning compressor .
12 - INJECTION SYSTEM
Manufacturer : MAGNETI MARELLI .
Type : MMDCM 4.8P .
12 - 1 - INJECTION
Special features :
12 - 2 - IGNITION
Special features :
The coils are part of a compact unit attached to the cylinder head (BBC 2.2) .
Ignition coil unit (BBC) :
Spark plugs :
Replacement interval with normal use : Refer to the maintenance schedule .
12 - 3 - DOWNLOADING
This injection/ignition control unit has a Flash Eprom memory .
Special features of the Flash Eprom memory :
12 - 4 - INJECTION CONTROL UNIT
Special features :
Allocation of the 128 control unit ways through 3 connectors .
The control unit manages the following functions :